Thrust ball bearings, tapered ball bearings and 1:12 double-row ball bearings are often used in the spindle structure of machine tools. Such bearings have good support rigidity and can be preloaded in the radial and axial directions to eliminate the gap between the bearing hole and the shaft, and between the outer ring of the bearing and the seat hole. They can withstand radial and partial axial forces, have high rotation accuracy and good rigidity, but have high technical requirements for manufacturing, assembly and adjustment, and are difficult to maintain.
The calculation and adjustment methods for preload of such bearings have been introduced in the bearing manual. This article mainly introduces the My6025 spindle structure obtained after optimization design.
Selection of preload methods. For thrust ball bearings, the preload force is appropriate, and the spindle can obtain good rotation accuracy and stiffness performance. There are two main preload methods: constant pressure method and positioning method. The constant pressure method is a constant pressure preload, which is generally preloaded by a spring to ensure that its preload force is relatively stable, but the spindle rigidity is poor.
The positioning method relies on the positioning preload of the bearing. The method is to achieve preload by adjusting the difference in the thickness of the gasket between the inner and outer sleeves of the two bearings. At this time, the bearing is set in the main shaft to bear the axial force and strengthen the rigidity. This structure requires high dimensional accuracy and small shape error of the parts, and accurate assembly.
Bearing matching method. In the radial thrust ball bearing, the matching between the inner sleeve and the shaft is preferably h5 or j5 (the inner sleeve can move smoothly during the preload process); the matching between the outer sleeve and the bearing seat hole adopts a clearance of 0.002 to 0.005 mm. That is, when assembling, a certain axial force is slightly applied (the bearing is not preloaded) to make the bearing fit, and the entire bearing is installed before preload. If the bearing is preloaded before being installed into the bearing sleeve hole, and it is carried out at room temperature, this will cause a bad effect. If the assembly gap is small or there is no gap, the bearing hole will be roughened, destroying the accuracy of the entire system; if it is easily installed, it means that there is a gap between the bearing sleeve and the bearing seat hole. When rotating at high speed, even if the bearing expands due to heat, the gap cannot be eliminated, and the bearing sleeve and the bearing seat hole will produce relative movement and burn the bearing.
Bearing preloading method. For paired back-to-back structured radial thrust ball bearings, the gap between the inner and outer sleeves due to axial clearance and design requirements should be eliminated during preloading, and then the inner sleeve of the right bearing should be moved to the left by applying force, so that the inner sleeve and the outer sleeve of the left bearing have a δ difference, and the δ difference determines the size of the preload force.
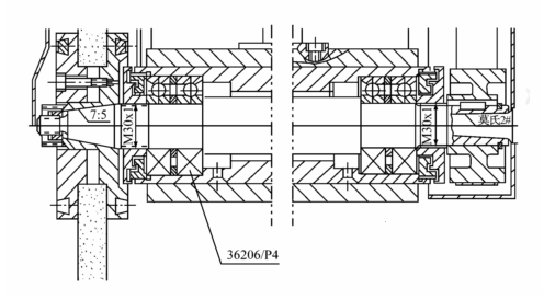
The optimized spindle structure is shown in Figure 1.

The grinding wheel spindle is supported by 7026C/P4 radial thrust ball bearings, using DB combination (back to back), the outer diameter of the bearing and the bearing seat hole are 0.002-0.006mm clearance fit, the rear bearing is 0.005-0.01mm clearance fit, and the bearing hole and shaft diameter are 0.002-0.005mm interference fit. The preload is achieved by adjusting the difference between the inner and outer spacers, about 200N. The end faces of the inner and outer spacers must be ground to ensure a high degree of parallelism to adjust the precision requirements of the spindle.
About JHB:
LuoYang JinShuo Precision Bearing Co., Ltd. is mainly committed to the R&D and sales of high-precision bearings and other special products, and provides bearings and transmission parts with high performance for customers' equipment. With quick response, from pre-sales technical communication to on-time production delivery, as well as perfect after-sales service, we win the recognition and trust of customers.
Our main products include cylindrical roller bearings, tapered roller bearings, slew bearings, gear drives, spindle bearings, crossed roller bearings, turret bearings, thin-wall bearings, tandem roller bearings, spherical roller bearings, etc. The bearing dimensions rang from 100mm to 6000mm, the accuracy reaches P5, P4 and P2 levels. The bearing are widely used in mining and metallurgy, industrial equipment, industrial gearboxes, petroleum equipment, cranes, medical equipment, robotic equipment, etc. Among them, cylindrical roller bearings with better performance and high-precision deep groove ball bearings have been explored for high-speed tubular strander rotating cable equipment, which have completely replaced imports, saving customers costs and time, and improving work efficiency. It has been recognized and widely praised by customers.
Contact JHB:
Address: Yiyang Bearing Industry Zone, Luoyang City, China 47100
Tel/Wechat: +86-18037970383
Whatsapp: +86-18037970383
Fax: 0086-379-65199160
E-mail: lyjh@lyjhbearing.com
sales@lyjhbearing.com
Website: www.chinajhbearing.com
www.lyjhbearing.com